
Transmittable Documents
61
3. Sending
Documents
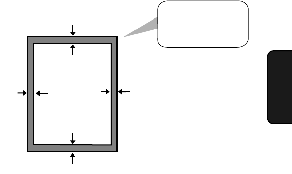
Note: Letters or graphics on the edges of a document will not be
scanned.
Other restrictions
♦ The scanner cannot recognise yellow, greenish yellow, or light blue
ink.
♦ Ink, glue, and correcting fluid on documents must be dry before
they pass through the document feeder.
♦ All clips, staples, and pins must be removed from documents before
loading in the feeder. If these are not removed, they may damage the
machine.
♦ Documents which are patched, taped, torn, smaller than the
minimum size, carbon backed, easily smudged, or have a slippery
coated surface should be photocopied, and the copy loaded in the
feeder.
5 mm
4 mm
4 mm
5 mm
Letters in the
shaded area will
not be scanned.
Komentáře k této Příručce