
PART NAMES AND FUNCTIONS
1-8
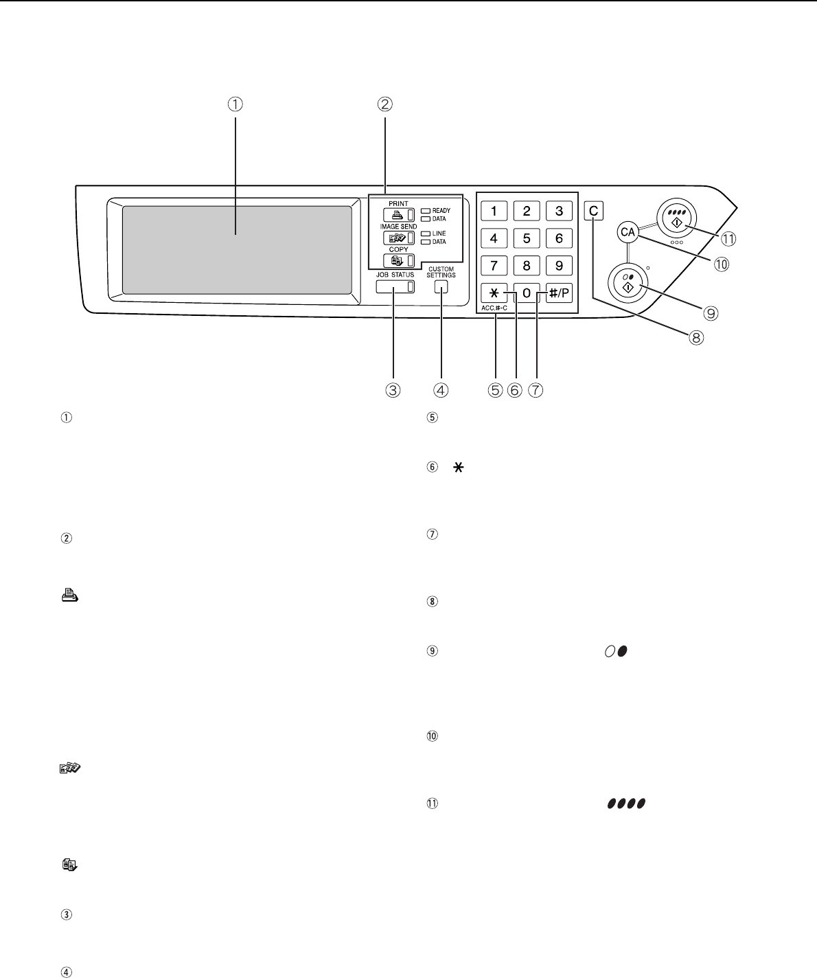
Operation panel
Touch panel
The machine status, messages and touch keys are
displayed on the panel. The display will change to
show the status of printing, copying or network
scanning according to which mode is selected. For
details see the next page.
Mode select keys and indicators
Use to change modes and the corresponding
display on the touch panel.
[PRINT] key/READY indicator/DATA indicator
Press to enter the print mode.
READY indicator
Print data can be received when this indicator is
lit.
DATA indicator
Lights up or blinks when print data is being
received. Also lights up or blinks when printing is
being performed.
[IMAGE SEND] key/LINE indicator/DATA
indicator
Press to enter the network scan mode when the
network scanner function is added. (See the
operation manual (for network scanner).)
[COPY] key
Press to select the copy mode.
[JOB STATUS] key
Press to display the current job status. (See page
1-10.)
[CUSTOM SETTINGS] key
Use to adjust the contrast of the touch panel or to
set key operator programs. (See page 2-13.)
Numeric keys
Use to enter number values for various settings.
[ ] key ([ACC.#-C] key)
This key is used as an account control key for copy
and network scan features.
[#/P] key
This key is used as a program key for copy
features.
[C] key
This key is active for copy features.
[BLACK COPY START ( )] key
This is used to make black and white copies and to
scan a black and white original when the network
scan function is used.
[CA] key
This key is active for copy and network scan
features.
[COLOR COPY START ( )] key
This is used to make full-color or single-color
copies and to scan a color original when the
network scanner function is used.
00-08.book 8 ページ 2002年11月8日 金曜日 午前9時39分
Komentáře k této Příručce