
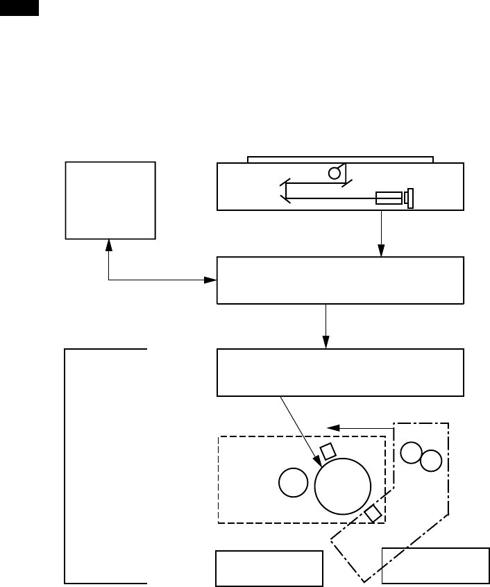
[6] OPERATIONAL DESCRIPTIONS
1. Outline of operation
The outline of operation is described referring to the basic configuration.
(Basic configuration)
(Outline of copy operation)
Setting conditions
1) Set copy conditions such as the copy quantity and the copy density with the operation section, and press the COPY button. The information
on copy conditions is sent to the MCU.
Image scanning
2) When the COPY button is pressed, the scanner section starts scanning of images.
The light from the copy lamp is reflected by the document and passed through the lens to the CCD.
Photo signal/Electric signal conversion
3) The image is converted into electrical signals by the CCD circuit and passed to the MCU.
Image process
4) The document image signal sent from the CCD circuit is processed under the revised conditions and sent to the LSU (laser unit) as print data.
Electric signal/Photo signal (laser beam) conversion
5) The LSU emits laser beams according to the print data.
(Electrical signals are converted into photo signals.)
6) The laser beams are radiated through the polygon mirror and various lenses to the OPC drum.
Printing
7) Electrostatic latent images are formed on the OPC drum according to the laser beams, and the latent images are developed to be visible im-
ages (toner images).
8) Meanwhile the paper is fed to the image transfer section in synchronization with the image lead edge.
9) After the transfer of toner images onto the paper, the toner images are fused to the paper by the fusing section. The copied paper is discharged
onto the exit tray.
Operation
section
Scanner section
CCD
MCU (Main control/image process section)
Laser beam
Paper exit
Fusing section
Paper transport section
Manual paper
feed section
Cassette paper
feed section
Printer section
LSU (Laser unit)
Laser diode, Polygon mirror lens
Process section
AR-F152
6 – 1
Komentáře k této Příručce