
d.
Remove the display panel cable (4). The display panel cable includes the microphone
module cable and is available in the Display Cable Kit, spare part number 639472-001.
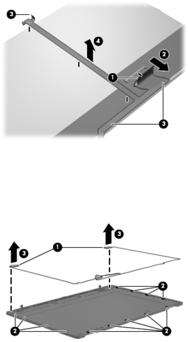
17. If it is necessary to replace the wireless antenna cables and transceivers:
a. Release the wireless antenna transceivers (1) from the display enclosure. (The wireless
antenna transceivers are attached to the display enclosure with double-sided tape.)
b. Release the wireless antenna cables from the clips (2) built into the display enclosure.
c. Remove the wireless antenna cables and transceivers (3). The wireless antenna cables and
transceivers are available in the Cable Kit, spare part number 639473-001.
Reverse this procedure to reassemble and install the display assembly.
64 Chapter 4 Removal and replacement procedures
Komentáře k této Příručce