
28
ÈÇÃÎÒÎÂËÅÍÈÅ ÊÎÏÈÉ
Ðåæèì ýêîíîìèè òîíåðà
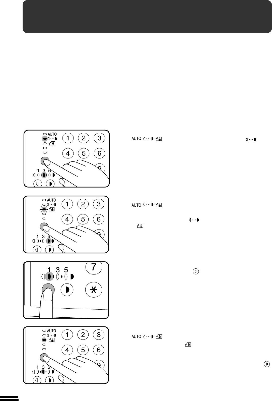
1
Ïðè ïîìîùè êíîïêè ÀÂÒÎ/ÐÓ×ÍÎÉ/ÔÎÒÎ
( / / ) âûáåðèòå ðåæèì ÐÓ×ÍÎÉ ( ).
2
Íàæìèòå íà êíîïêó ÀÂÒÎ/ÐÓ×ÍÎÉ/ÔÎÒÎ
( / / ) è óäåðæèâàéòå åå ïðèáëèçèòåëüíî â
òå÷åíèå 5 ñåêóíä.
●
Èíäèêàòîð ÐÓ×ÍÎÉ ( ) ïîãàñíåò, à èíäèêàòîð ÔÎÒÎ
( ) íà÷íåò ìèãàòü.
●
Çàãîðèòñÿ èíäèêàòîð, ñîîòâåòñòâóþùèé óðîâíþ «5», óêàçûâàÿ
íà òî, ÷òî àêòèâèçèðîâàí ñòàíäàðòíûé ðåæèì ðàñõîäà òîíåðà.
3
Äëÿ óñòàíîâêè ðåæèìà ýêîíîìèè òîíåðà íàæìèòå
íà êíîïêó «ñâåòëåå» ( ).
●
Çàãîðàíèå èíäèêàòîðà «1» óêàçûâàåò íà òî, ÷òî âûáðàí ðåæèì
ýêîíîìèè òîíåðà.
4
Íàæìèòå íà êíîïêó ÀÂÒÎ/ÐÓ×ÍÎÉ/ÔÎÒÎ
( / / ).
●
Èíäèêàòîð ÔÎÒÎ ( ) ïåðåñòàíåò ìèãàòü è çàãîðèòñÿ
íåïðåðûâíûì ñâåòîì. Ðåæèì ýêîíîìèè òîíåðà àêòèâèçèðîâàí.
●
Äëÿ âîçâðàòà ê ñòàíäàðòíîìó ðåæèìó ïîâòîðèòå îïåðàöèþ,
îïèñàííóþ âûøå, íî ñ èñïîëüçîâàíèåì êíîïêè «òåìíåå» ( )
äëÿ âûáîðà óðîâíÿ ýêñïîçèè «5» â ï. 3.
ÐÅÆÈÌ ÝÊÎÍÎÌÈÈ ÒÎÍÅÐÀ
Äàííûé ðåæèì ïîçâîëÿåò ñîêðàòèòü ðàñõîä òîíåðà ïðèáëèçèòåëüíî
íà 10% ïðè êîïèðîâàíèè â àâòîìàòè÷åñêîì è ðó÷íîì ðåæèìàõ
ýêñïîíèðîâàíèÿ. Êîïèè áóäóò íåçíà÷èòåëüíî ìåíåå ïëîòíûìè, íî
âïîëíå ñîîòâåòñòâóþùèìè ïî êà÷åñòâó îáû÷íûì òðåáîâàíèÿì.
Âûáîð äàííîãî ðåæèìà íå ìîæåò ïîâëèÿòü íà ïðîöåññ êîïèðîâàíèÿ
â ðåæèìå ÔÎÒÎ. Äëÿ óñòàíîâêè óðîâíÿ ðàñõîäà òîíåðà âûïîëíèòå
îïèñàííóþ íèæå îïåðàöèþ.
Komentáře k této Příručce